鉅大鋰電 | 點擊量:0次 | 2018年09月12日
特斯拉實現動力電池輕量化是怎么做到的?
Model3正負極連接片從一整片變成了布局在電池組兩側,而非電芯正反面的樹枝狀連接片。也就是原先是2個面的鋁片變成了1個面,同時還更細更輕。如果單純的以一整個面的鋁片來計算,那么這部分的減重又是若干公斤。
先說一下Model3電池包的減重成果,在車身主要結構使用鋼材的情況下,Model3的車重控制在1.7噸,對應的是最大80.5kWh的電池容量(實際BMS控制在78kWh的放電能力),與之相同檔次汽油車如寶馬3系和奔馳C級的車重在1.5-1.6噸。這是繼充電能力接近汽油車使用閾值之后,又一個與汽油車極為接近的電動車弱項。
裝了80.5度電的Model3電池包重量僅有478公斤,其中非電池部分重量169公斤。而ModelS85D版本總能量為81.5kWh的電池包重量545kg。也就是實現相似電池容量的電池包,重量減輕大約67kg。
怎么做到的?
一、電芯數量減少了
來自電池能量密度的提升已經賦予了Model3相當可觀的電池包能量密度,而應用單個容量更大的2170電池所帶來的另外一個好處則是電池數量的大大降低,從ModelS的7000多節降低到4416節。
電芯數量少了在減重上有啥作用?
首先是更短的散熱管路長度。即便是考慮到2170單個電池比18650需要更多的散熱接觸面積,4416節所需要的散熱管長度還是比7000多節降低許多。
其次是電氣結構集成度高,DC-DC、充電機、配電器全部集成,而且每一個模塊相對ModelS/X也更小、更輕。值得一提的是,Model3布置電氣設備的servicepanel是和電池包主體部分隔離的,在需要維修的時候可以獨立打開。

拆解開的Model3電池包,最左側的模組已經被拆走。
最大頭的則是結構減重,大部分ModelS車型的電池包分為16個小模組(S60為14個模組),Model3長續航版的電池包則只有4個模組。更少的模組意味著更少的電池包內部隔斷、電池組BMS、線束和散熱管路接口。

綠色部分是Model3上使用超高強度鋼材的部分,可以看到底部的電池包基本被超高強度鋼所包圍
前面提到,Model3的電池包安全問題交還給了車身,電池組的安裝位置基本覆蓋了乘員艙,因此原本在車身底部圍繞起來保護成員的高強度鋼結構同時被用來保護電池,而電池包結構組件只用于承載電池包自身重量。ModelS電池包的保護殼就重達125公斤,Model3的電池包去掉了這部分重量中的大部分。
事實上電氣部分和結構減重已經幫助Model3減輕了大部分可減重量,還嫌不夠怎么辦?
二、從細節上摳
在第一次了解到Model3電池包正負極連接結構的時候,我很是震驚。
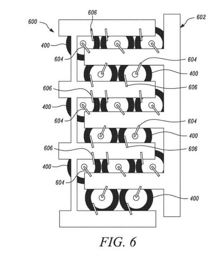
先放一張特斯拉在專利中公布的電池連接結構圖:

▲來自特斯拉最新專利
圖上圓柱形的自然就是2170電池,左側的樹枝狀鋁片是整個電池組的負極部分,右側樹枝狀鋁片是正極。
連接電池正極的鋁絲通過超聲波焊接在電池正極正中心的位置,連接電池負極的鋁絲則劍走偏鋒,連接在2170電池正極同一側最外沿的負極上,也就是圖上黑色部分,這部分的寬度只有1.5-2mm,同樣使用超聲波焊接工藝。
然而由于電池正面可供連接的負極部分實在太窄,負極鋁絲的超聲波焊接成功率在Model3量產的早期階段并不盡如人意,電池包產能嚴重受到制約。
解決方法主要是兩個:
一是電池之間的聚合物在焊接之前就填充到位,保證各個電芯的結構穩定性。
二是采購了更好更強大的超神波焊接機,提高焊接精度。
解決負極連接的工藝問題可謂是費時費力,那么好處呢?還是減重。
先看三張對比圖:

▲傳統的電阻焊連接工藝

▲ModelS的電池連接工藝

▲Model3的電池連接工藝
ModelS電池模組里的電池連接方式比起傳統的電阻焊已經是革命性改變,電阻焊只是通過簡單粗暴的電流短路方式把鋁片上的N(N為2的倍數)個點融化到電池正負極上,毫無美感也提供不了單個電池的斷路保護功能。
ModelS的電芯則通過電池兩側的鋁絲與一整塊鋁片連接,在單個電池電流過大的情況下可以提供斷路保護,也提供了維修時的補焊能力。
而到了Model3上,可以很明確的看到,正負極連接片從一整片變成了布局在電池組兩側,而非電芯正反面的樹枝狀連接片。也就是原先是2個面的鋁片變成了1個面,同時還更細更輕。如果單純的以一整個面的鋁片來計算,那么這部分的減重又是若干公斤。
這一設計帶來的另一個好處則是散熱,電池反面不需要連接電極之后就可以直接與絕緣導熱底板接觸,甚至安裝額外的底部散熱管路,提高電池包熱管理能力。
值得稱贊的是電池包大幅減重之后Model3的安全性并沒有因此下降,美國公路安全保險協會(IIHS)給予了Model3正面碰撞預防測試最高評級。而在一個多月前的一起交通事故中,一輛Model3與其他車輛發生碰撞后又撞向水泥隔離墩并翻滾多次,在車頭部分嚴重受損的情況下駕駛艙保持完整,且電池沒有起火。
當然,特斯拉在Model3電池包的安全保證遠不止車身底盤那一圈超高強度鋼材。為了應對極端撞擊情況下電池受損之后出現的熱失控現象,Model3電池模組的正負極覆蓋材料上設計了很多“預留泄壓孔”,這些泄壓孔使用了更加脆弱的材料。在單個或多個電芯結構被破壞,噴出炙熱氣體時,泄壓孔能及時溶解,把熱失控電池散熱的高溫氣體及時排出,以免影響其他電池,這個設計有些類似坦克上的彈藥艙泄壓門。
綜上而論,Model3在電池包減重輕量化上是無所不用其極,甚至在早期脫離了特斯拉所掌握的工藝范疇,還好通過后續改進埋掉了此前留下的大坑。
從Model3的產品演進方向也能看到,為了控制整車能耗并且兼顧入門級車輛的車身維護成本,特斯拉將車身極致輕量化的指標轉移到電池包上,為此不惜帶來產能爬坡上的困難節點。
因為,續航和能耗是電動車打入主流市場的根本啊。










